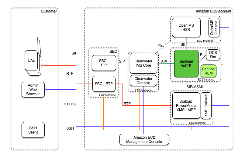
The Sentinel VoLTE Cloud environment is an Amazon Elastic Cloud Compute (EC2) based, small scale, functional IMS network in the Cloud.
Components
It includes five main components, each running in its own EC2 instance:
-
OpenCloud Sentinel VoLTE TAS
-
OpenIMS HSS
-
Metaswitch Clearwater IMS
-
Session Border Controller (not yet available)
-
Dialogic XMS - Media Resource Function (not yet available).
Each instance is published in Amazon as an EC2 AMI. New instances of the three images can be spun-up from the AMIs in about five minutes.
Architecture
| Component | Features |
|---|---|
Sentinel VoLTE TAS |
|
OpenIMS HSS |
|
Clearwater IMS |
Project Clearwater is an open source implementation of the IP Multimedia Subsystem for cloud computing environments. |
|
|
OpenCloud configures the three instances to communicate between themselves. |
Product documentation links
| Component | Documentation URL |
|---|---|
Sentinel VoLTE |
|
Clearwater IMS Core |
|
OpenIMS HSS |
|
Dialogic XMS |
http://www.dialogic.com/en/products/media-server-software/xms.aspx |
Perimeta Session Border Controller |
http://www.metaswitch.com/perimeta-session-border-controller-sbc |
